

全國免費客服電話 0537-2558089 郵箱:zhuoligk@163.com
手機:0537-2558089
電話:0537-2558089
地址:濟寧市任城區南張工業園
發布時間:2017-04-05 17:29:43 人氣:1156
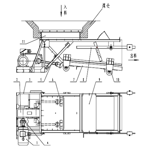
GMW系列往復式給料機結構
該系列給料機主要由隔爆電動機、減速機、聯軸器、傳動機架、H形架、曲柄連桿裝置、給料底板、閘門、機架體、漏斗、滾輪體等幾大部分組成(見圖1)。
圖1 GMW系列往復式給料機結構示意圖 1.隔爆電動機 2.減速機 3.傳動機架 4.聯軸器 5.H形架 6.曲柄連桿裝置 7.給料底板 8.閘門 9.機架體 10.滾輪體 11.漏斗
本往復式給料機的漏斗有兩種安裝形式:標準型和前置型。
一般情況下選用標準型,而在物料比較潮濕不易排料的情況下則選用前置型。
GMW型往復式給料機工作原理
GMW型往復式給料機(見圖1)減速機輸出軸兩端裝有曲柄,每個曲柄
帶動一個連桿(或雙曲柄帶動Y形單連桿),連桿與給料底板連接。電動機驅動減速機,減速機帶動曲柄連桿裝置運動,連桿帶動傾斜5°的給料底板作往復運動,將煤從倉內均勻給出。
相關推薦